标题:
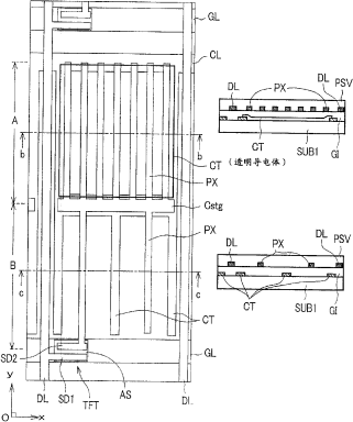
显示装置
授权日:
2008-12-10
公开(公告)号:
CN100442128C
申请日:
2003-07-14
公开(公告)日:
2008-12-10
当前申请(专利权)人:
株式会社日本显示器 | 松下液晶显示器株式会社
发明人:
仲吉良彰 | 柳川和彦 | 落合孝洋 | 今山宽隆
简单同族:
CN100442128C | CN101393362A | CN101393362B | CN1802599A | JP3971778B2 | JPWO2005006068A1 | TW200727057A | US20070040978A1 | US20090207351A1 | US20110211150A1 | US20120002152A1 | US7924384 | US7952673 | US8144297 | US8223306 | WO2005006068A1
简单同族成员数量:
16
简单同族被引用专利总数:
131
诉讼案件数:
0
法律状态/事件:
未缴年费 | 许可 | 权利转移