标题:
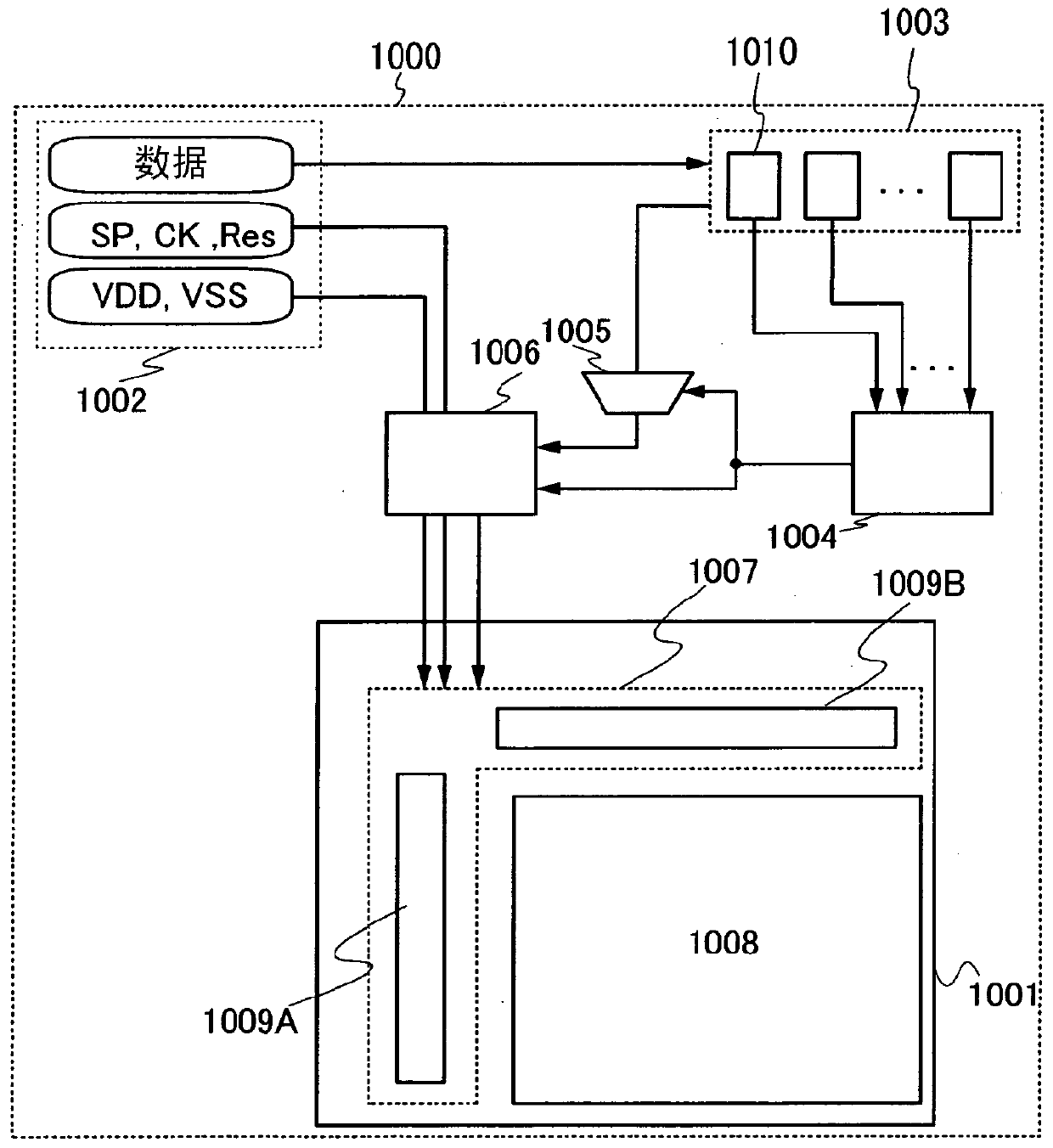
显示设备
授权日:
1900-01-01
公开(公告)号:
CN110908203A
申请日:
2010-09-28
公开(公告)日:
2020-03-24
当前申请(专利权)人:
株式会社半导体能源研究所
发明人:
山崎舜平 | 小山润 | 三宅博之 | 津吹将志 | 野田耕生
简单同族:
CN102576518A | CN106200185A | CN110824800A | CN110908203A | EP2489032A1 | EP2489032A4 | EP2489032B1 | EP3244394A1 | JP2011141523A | JP2011141523A5 | JP2015096981A | JP2017021370A | JP2017021370A5 | JP2017142530A | JP2017167546A | JP2018136548A | JP2019185055A | JP5882572B2 | JP6016957B2 | JP6229088B2 | JP6553763B2 | KR101844080B1 | KR101933841B1 | KR101988819B1 | KR1020120099228A | KR1020180031807A | KR1020190000382A | KR1020190065470A | KR1020200021554A | KR102081795B1 | TW201207827A | TW201610972A | TWI604428B | TWI613637B | US10061172 | US10310348 | US20110090204A1 | US20180364510A1 | WO2011046032A1
简单同族成员数量:
39
简单同族被引用专利总数:
98
诉讼案件数:
0
法律状态/事件:
实质审查