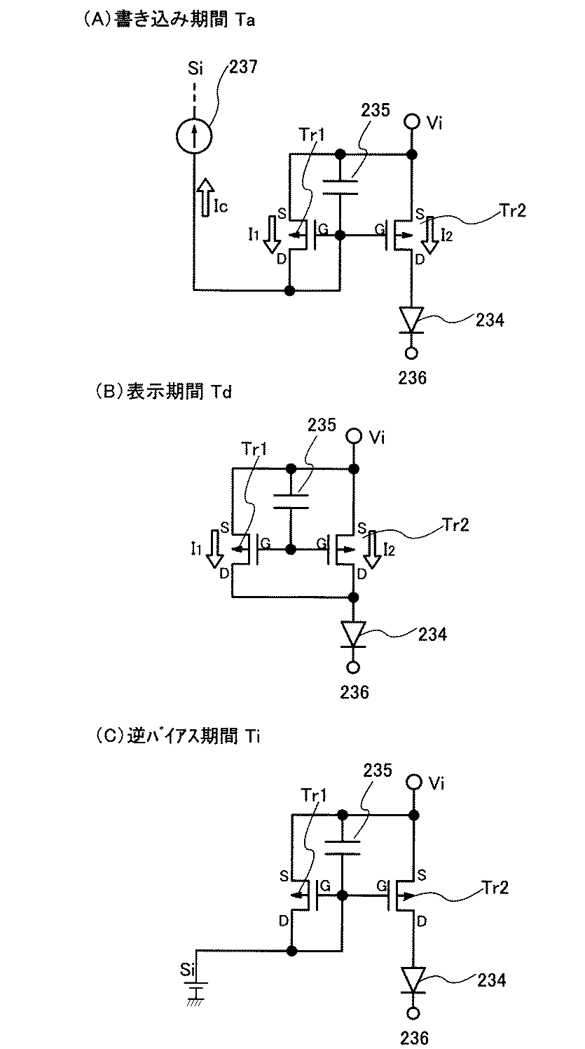
标题:
表示装置
授权日:
1900-01-01
公开(公告)号:
JP2020057620A
申请日:
2019-12-24
公开(公告)日:
2020-04-09
当前申请(专利权)人:
株式会社半導体エネルギー研究所
发明人:
山崎 舜平 | 小山 潤 | 秋葉 麻衣
简单同族:
CN100370502C | CN101232040A | CN101232040B | CN1409402A | JP2003177711A | JP2003177711A5 | JP2003216104A | JP2009003477A | JP2011209748A | JP2013178578A | JP2013178578A5 | JP2014222346A | JP2015187739A | JP2016026378A | JP2016224467A | JP2017027073A | JP2018022695A | JP2019061255A | JP2020057620A | JP3810725B2 | JP4001801B2 | JP4842308B2 | JP5448267B2 | JP5723924B2 | JP5809735B2 | JP5976163B2 | JP6047640B2 | JP6082155B2 | JP6291004B2 | JP6526135B2 | JP6676735B2 | KR100923507B1 | KR1020030025888A | TW571275B | US10068953 | US20030062545A1 | US20050093804A1 | US20060220581A1 | US20100328299A1 | US20120286273A1 | US20130341625A1 | US20150041817A1 | US20160027815A1 | US20160284271A1 | US20170047387A1 | US20170047388A1 | US20180145120A1 | US6870192 | US7170094 | US7795618 | US8227807 | US8519392 | US8895983 | US9165952 | US9368527 | US9847381 | US9876062 | US9876063
简单同族成员数量:
58
简单同族被引用专利总数:
238
诉讼案件数:
0
法律状态/事件:
公开