首页
专利数据库
产业人才
行业动态
产业政策法规
维权援助
个人中心
登录/注册
详情
文本
图像
标题:
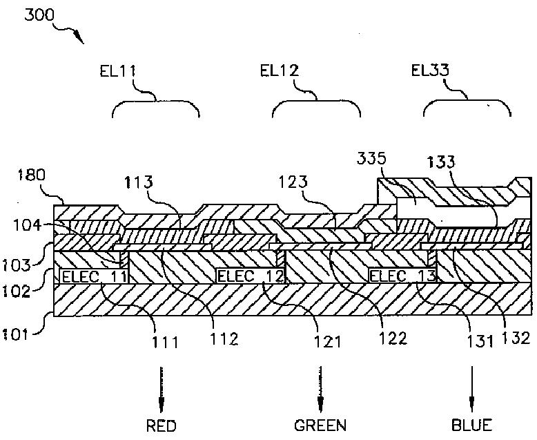
青色の発光が改善されたフル-カラー有機ディスプレイ
授权日:
1900-01-01
公开(公告)号:
JP2007523451A
申请日:
2005-01-21
公开(公告)日:
2007-08-16
当前申请(专利权)人:
イーストマン コダック カンパニー
发明人:
リヤオ,リヤン-シェン | クルベク,ケビン ポール | タン,チン ワン
简单同族:
JP2007523451A | JP2007523451A5 | JP2012043817A | JP2012043817A5 | US20050173700A1 | US20060181202A1 | US7030554 | US7528545 | WO2005078820A1
简单同族成员数量:
9
简单同族被引用专利总数:
275
诉讼案件数:
0
法律状态/事件:
驳回 | 权利转移