首页
专利数据库
产业人才
行业动态
产业政策法规
维权援助
个人中心
登录/注册
详情
文本
图像
标题:
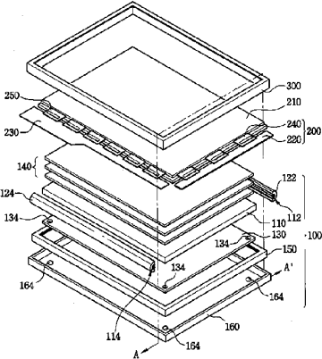
显示装置的背光组件
授权日:
1900-01-01
公开(公告)号:
CN1591132A
申请日:
2004-07-07
公开(公告)日:
2005-03-09
当前申请(专利权)人:
三星显示有限公司
发明人:
姜商敏 | 李正焕 | 朴钟大 | 李奭源 | 高京禄
简单同族:
CN1591132A | CN1591132B | JP2005032723A | JP4594660B2 | KR100962641B1 | KR1020050005878A | TW200510871A | US20050099790A1 | US7056002
简单同族成员数量:
9
简单同族被引用专利总数:
49
诉讼案件数:
0
法律状态/事件:
未缴年费 | 权利转移