首页
专利数据库
产业人才
行业动态
产业政策法规
维权援助
个人中心
登录/注册
详情
文本
图像
标题:
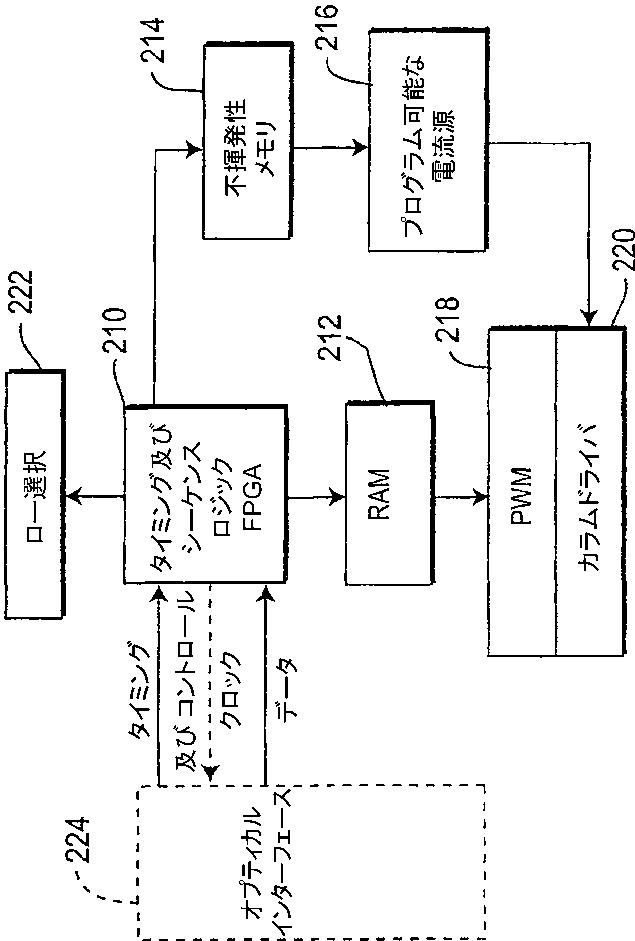
有機の光放射材料を使用するディスプレイタイル構造
授权日:
1900-01-01
公开(公告)号:
JP2004515810A
申请日:
2001-11-09
公开(公告)日:
2004-05-27
当前申请(专利权)人:
サーノフ コーポレイション
发明人:
マッシス, デニース, リー
简单同族:
EP1332487A2 | EP1332487A4 | EP2330627A2 | EP2330627A3 | JP2004515810A | JP2009110014A | JP5219764B2 | US6498592 | WO2002047310A2 | WO2002047310A3 | WO2002047310A9
简单同族成员数量:
11
简单同族被引用专利总数:
316
诉讼案件数:
0
法律状态/事件:
驳回 | 权利转移