首页
专利数据库
产业人才
行业动态
产业政策法规
维权援助
个人中心
登录/注册
详情
文本
图像
标题:
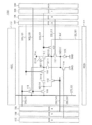
画素回路、表示装置、および画素回路の駆動方法
授权日:
1900-01-01
公开(公告)号:
JP2005141163A
申请日:
2003-11-10
公开(公告)日:
2005-06-02
当前申请(专利权)人:
ソニー株式会社
发明人:
内野 勝秀 | 山下 淳一 | 山本 哲郎
简单同族:
CN100416639C | CN1879141A | JP2005141163A | JP2005141163A5 | JP4131227B2 | KR101065950B1 | KR1020060120083A | TW200527378A | TWI244633B | US20070052644A1 | US7355572 | WO2005045797A1
简单同族成员数量:
12
简单同族被引用专利总数:
52
诉讼案件数:
0
法律状态/事件:
未缴年费