首页
专利数据库
产业人才
行业动态
产业政策法规
维权援助
个人中心
登录/注册
详情
文本
图像
标题:
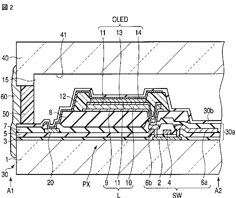
有機EL表示装置
授权日:
1900-01-01
公开(公告)号:
JP2010170796A
申请日:
2009-01-21
公开(公告)日:
2010-08-05
当前申请(专利权)人:
東芝モバイルディスプレイ株式会社
发明人:
炭田 祉朗 | 石田 哲夫
简单同族:
JP2010170796A
简单同族成员数量:
1
简单同族被引用专利总数:
0
诉讼案件数:
0
法律状态/事件:
撤回