首页
专利数据库
产业人才
行业动态
产业政策法规
维权援助
个人中心
登录/注册
详情
文本
图像
标题:
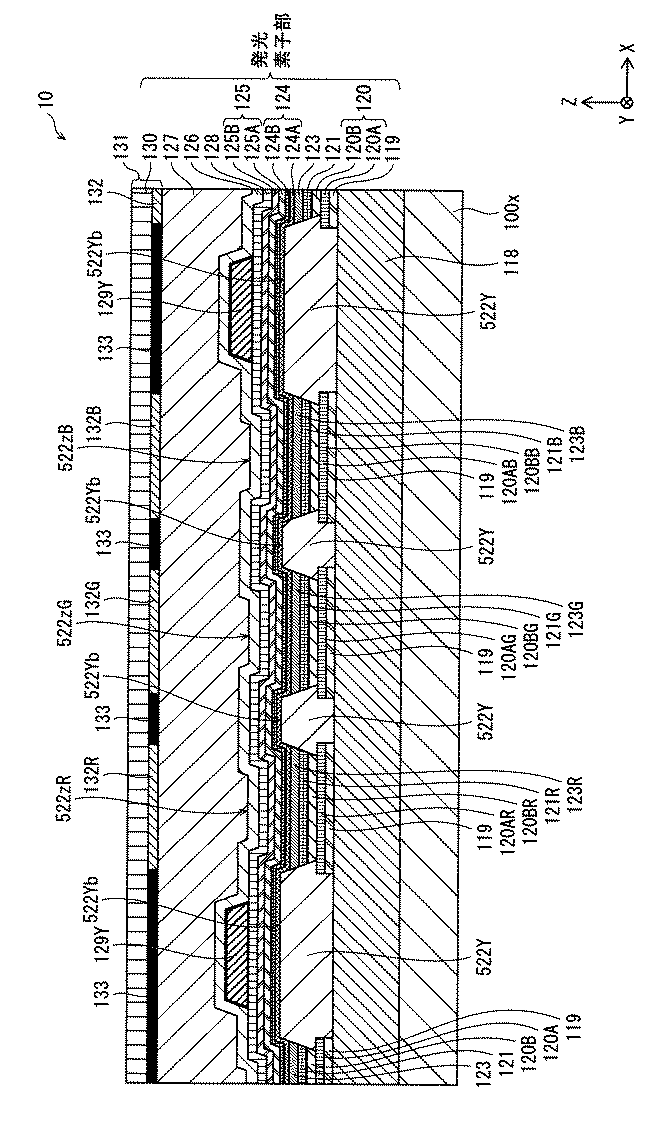
有機EL表示パネル及び有機EL表示パネルの製造方法
授权日:
1900-01-01
公开(公告)号:
JP2019133835A
申请日:
2018-01-31
公开(公告)日:
2019-08-08
当前申请(专利权)人:
株式会社JOLED
发明人:
篠川 泰治 | 年代 健一 | 矢田 修平 | 山口 潤
简单同族:
JP2019133835A
简单同族成员数量:
1
简单同族被引用专利总数:
0
诉讼案件数:
0
法律状态/事件:
公开