首页
专利数据库
产业人才
行业动态
产业政策法规
维权援助
个人中心
登录/注册
详情
文本
图像
标题:
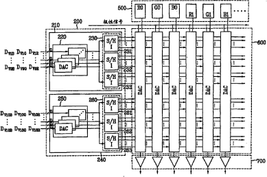
液晶显示器及其驱动装置
授权日:
2008-10-15
公开(公告)号:
CN100426364C
申请日:
2002-07-23
公开(公告)日:
2008-10-15
当前申请(专利权)人:
三星显示有限公司
发明人:
李升佑
简单同族:
CN100426364C | CN1608227A | US20030085859A1 | US20070200808A1 | US7224351 | US7859524 | WO2003040814A1
简单同族成员数量:
7
简单同族被引用专利总数:
53
诉讼案件数:
0
法律状态/事件:
未缴年费 | 权利转移