首页
专利数据库
产业人才
行业动态
产业政策法规
维权援助
个人中心
登录/注册
详情
文本
图像
标题:
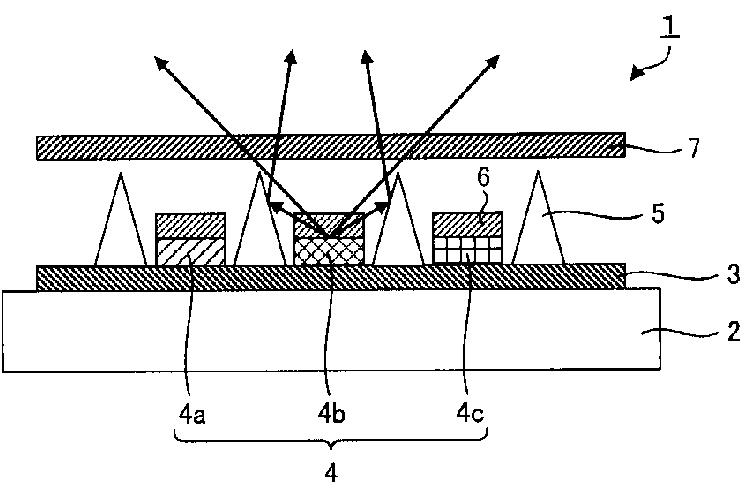
有機エレクトロルミネッセンスパネル
授权日:
1900-01-01
公开(公告)号:
JP2013206565A
申请日:
2012-03-27
公开(公告)日:
2013-10-07
当前申请(专利权)人:
大日本印刷株式会社
发明人:
中島 宏佳 | 谷口 幸夫 | 曽根 康子 | 穂刈 久実子
简单同族:
JP2013206565A
简单同族成员数量:
1
简单同族被引用专利总数:
0
诉讼案件数:
0
法律状态/事件:
撤回