首页
专利数据库
产业人才
行业动态
产业政策法规
维权援助
个人中心
登录/注册
详情
文本
图像
标题:
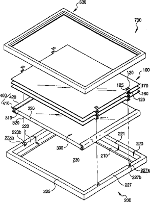
背光组件和利用该背光组件的液晶显示器
授权日:
1900-01-01
公开(公告)号:
CN1672091A
申请日:
2003-02-20
公开(公告)日:
2005-09-21
当前申请(专利权)人:
三星电子株式会社
发明人:
朴钟大 | 张世仁 | 车奎昊 | 李奭源
简单同族:
AU2003212659A1 | CN100376954C | CN1672091A | EP1535105A1 | JP2005534071A | JP4485358B2 | KR1020040009902A | US20050243238A1 | US7224416 | WO2004011997A1
简单同族成员数量:
10
简单同族被引用专利总数:
126
诉讼案件数:
0
法律状态/事件:
未缴年费