首页
专利数据库
产业人才
行业动态
产业政策法规
维权援助
个人中心
登录/注册
详情
文本
图像
标题:
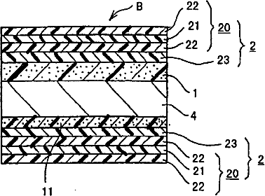
防玻璃破裂层压件和液晶显示器
授权日:
2008-06-25
公开(公告)号:
CN100397171C
申请日:
2004-03-10
公开(公告)日:
2008-06-25
当前申请(专利权)人:
日东电工株式会社
发明人:
稗田嘉弘 | 赤田祐三 | 细川敏嗣 | 宫内和彦
简单同族:
CN100397171C | CN1538223A | KR100748801B1 | KR1020040080360A | TW200422708A | TWI352840B | US20040180148A1 | US7208206
简单同族成员数量:
8
简单同族被引用专利总数:
80
诉讼案件数:
0
法律状态/事件:
未缴年费