首页
专利数据库
产业人才
行业动态
产业政策法规
维权援助
个人中心
登录/注册
详情
文本
图像
标题:
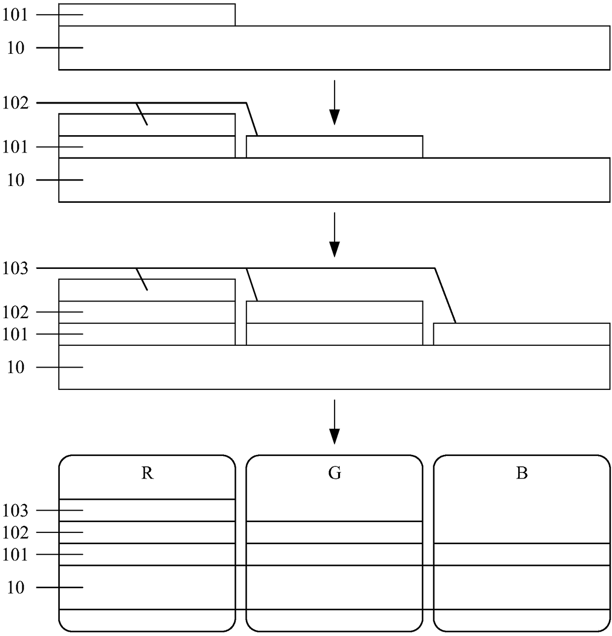
OLED微腔结构及其制备方法、显示装置
授权日:
1900-01-01
公开(公告)号:
CN108231857A
申请日:
2018-01-19
公开(公告)日:
2018-06-29
当前申请(专利权)人:
京东方科技集团股份有限公司
发明人:
张斌 | 周婷婷 | 羊振中 | 孙雪菲 | 王新星
简单同族:
CN108231857A
简单同族成员数量:
1
简单同族被引用专利总数:
0
诉讼案件数:
0
法律状态/事件:
实质审查