首页
专利数据库
产业人才
行业动态
产业政策法规
维权援助
个人中心
登录/注册
详情
文本
图像
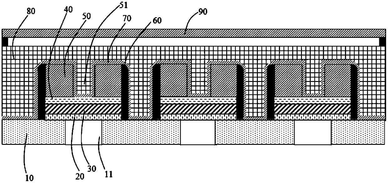
标题:
硅基微显示屏
授权日:
2020-05-01
公开(公告)号:
CN210443560U
申请日:
2019-11-18
公开(公告)日:
2020-05-01
当前申请(专利权)人:
昆山梦显电子科技有限公司
发明人:
杨小龙 | 杜晓松 | 周文斌 | 张峰 | 孙剑 | 高裕弟
简单同族:
CN210443560U
简单同族成员数量:
1
简单同族被引用专利总数:
0
诉讼案件数:
0
法律状态/事件:
授权