首页
专利数据库
产业人才
行业动态
产业政策法规
维权援助
个人中心
登录/注册
详情
文本
图像
标题:
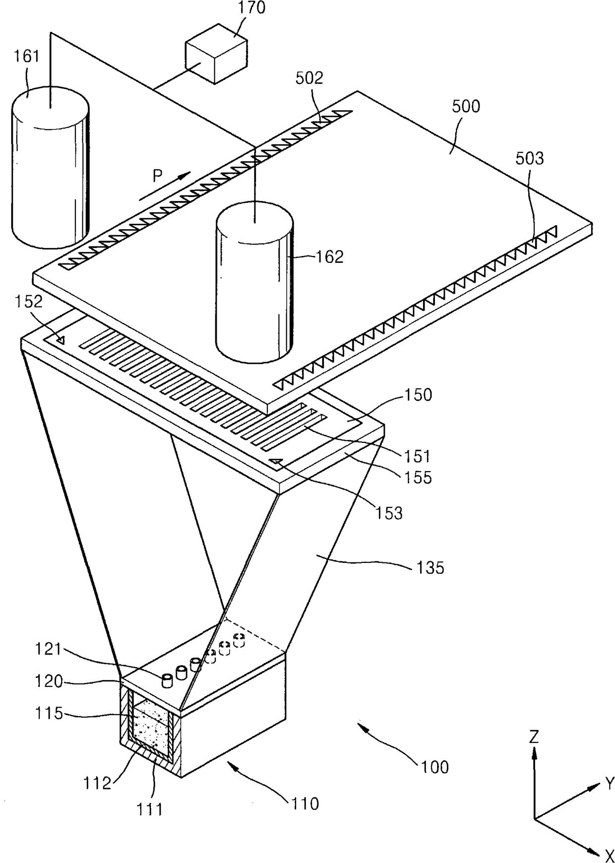
薄膜沉积设备及制造有机发光显示装置的方法
授权日:
2016-03-02
公开(公告)号:
CN102332539B
申请日:
2011-07-12
公开(公告)日:
2016-03-02
当前申请(专利权)人:
三星显示有限公司
发明人:
柳在光 | 曹昌睦 | 康熙哲
简单同族:
CN102332539A | CN102332539B | JP2012023026A | JP5847437B2 | KR101182448B1 | KR1020120006324A | TW201216456A | US20120009328A1
简单同族成员数量:
8
简单同族被引用专利总数:
57
诉讼案件数:
0
法律状态/事件:
授权 | 权利转移