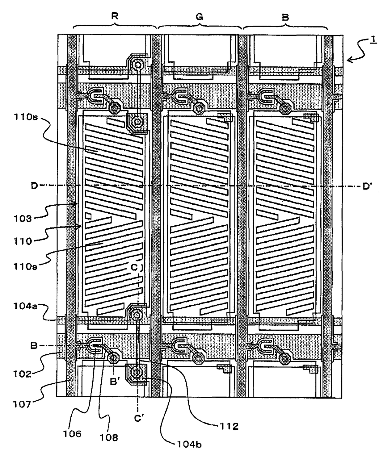
标题:
显示装置
授权日:
2011-12-21
公开(公告)号:
CN101592815B
申请日:
2006-06-29
公开(公告)日:
2011-12-21
当前申请(专利权)人:
株式会社日本显示器 | 松下液晶显示器株式会社
发明人:
盛育子 | 元冈宗纪 | 桶隆太郎 | 小岛和则 | 小野记久雄
简单同族:
CN101592815A | CN101592815B | CN1892369A | CN1892369B | JP2007017619A | JP4717533B2 | KR100861435B1 | KR1020070005523A | TW200707040A | TWI339301B | US10254611 | US10551706 | US20070008242A1 | US20100128210A1 | US20110317110A1 | US20130265531A1 | US20140146263A1 | US20170293192A1 | US20190196287A1 | US20200133087A1 | US7760302 | US8031299 | US8432522 | US9052559 | US9703161
简单同族成员数量:
25
简单同族被引用专利总数:
93
诉讼案件数:
0
法律状态/事件:
授权 | 许可 | 权利转移