首页
专利数据库
产业人才
行业动态
产业政策法规
维权援助
个人中心
登录/注册
详情
文本
图像
标题:
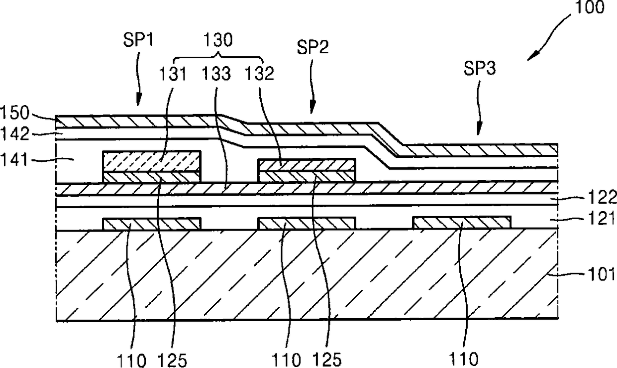
有机发光显示设备
授权日:
2015-06-10
公开(公告)号:
CN102208433B
申请日:
2011-03-31
公开(公告)日:
2015-06-10
当前申请(专利权)人:
三星显示有限公司
发明人:
朴镇佑 | 郑明钟 | 姜泰旻 | 徐旼彻 | 表相佑 | 金范俊 | 金孝妍
简单同族:
CN102208433A | CN102208433B | EP2372770A2 | EP2372770A3 | JP2011216470A | JP5886528B2 | KR101137392B1 | KR1020110109559A | US20110240970A1 | US8581270
简单同族成员数量:
10
简单同族被引用专利总数:
66
诉讼案件数:
0
法律状态/事件:
授权 | 权利转移