首页
专利数据库
产业人才
行业动态
产业政策法规
维权援助
个人中心
登录/注册
详情
文本
图像
标题:
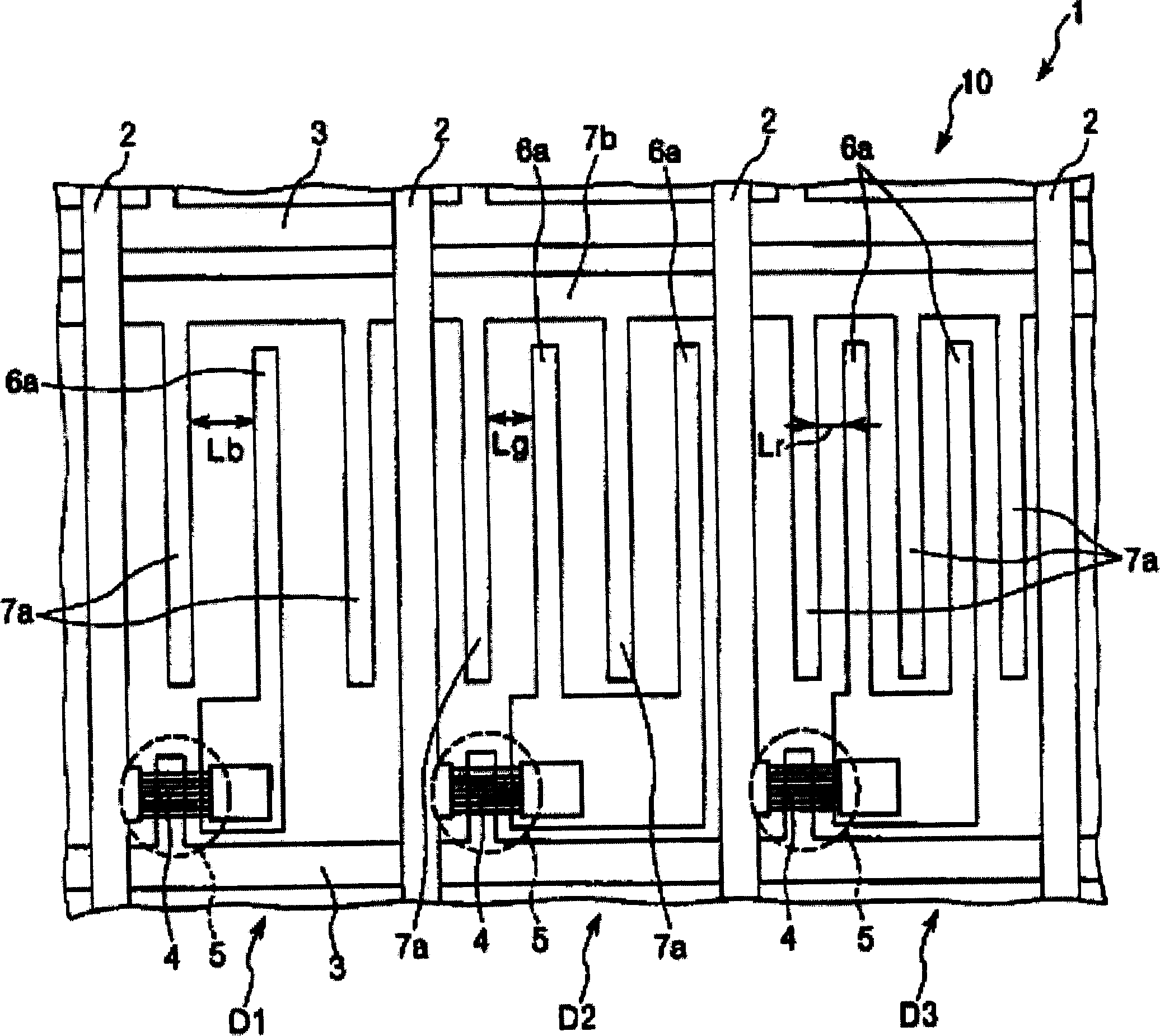
液晶装置及电子仪器
授权日:
1900-01-01
公开(公告)号:
CN1828373A
申请日:
2006-02-23
公开(公告)日:
2006-09-06
当前申请(专利权)人:
精工爱普生株式会社
发明人:
小泽欣也 | 岛村秀男
简单同族:
CN100451750C | CN1828373A | JP2006243036A | JP4476137B2 | KR100736349B1 | KR1020060095467A | TW200638136A | US20060203169A1 | US7843540
简单同族成员数量:
9
简单同族被引用专利总数:
114
诉讼案件数:
0
法律状态/事件:
未缴年费