首页
专利数据库
产业人才
行业动态
产业政策法规
维权援助
个人中心
登录/注册
详情
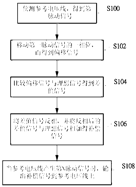
文本
图像
标题:
电压补偿方法及使用其的有机发光二极管显示器
授权日:
1900-01-01
公开(公告)号:
CN103426404A
申请日:
2013-08-23
公开(公告)日:
2013-12-04
当前申请(专利权)人:
华映视讯(吴江)有限公司 | 中华映管股份有限公司
发明人:
吕家亿 | 江晋一
简单同族:
CN103426404A
简单同族成员数量:
1
简单同族被引用专利总数:
0
诉讼案件数:
0
法律状态/事件:
驳回