首页
专利数据库
产业人才
行业动态
产业政策法规
维权援助
个人中心
登录/注册
详情
文本
图像
标题:
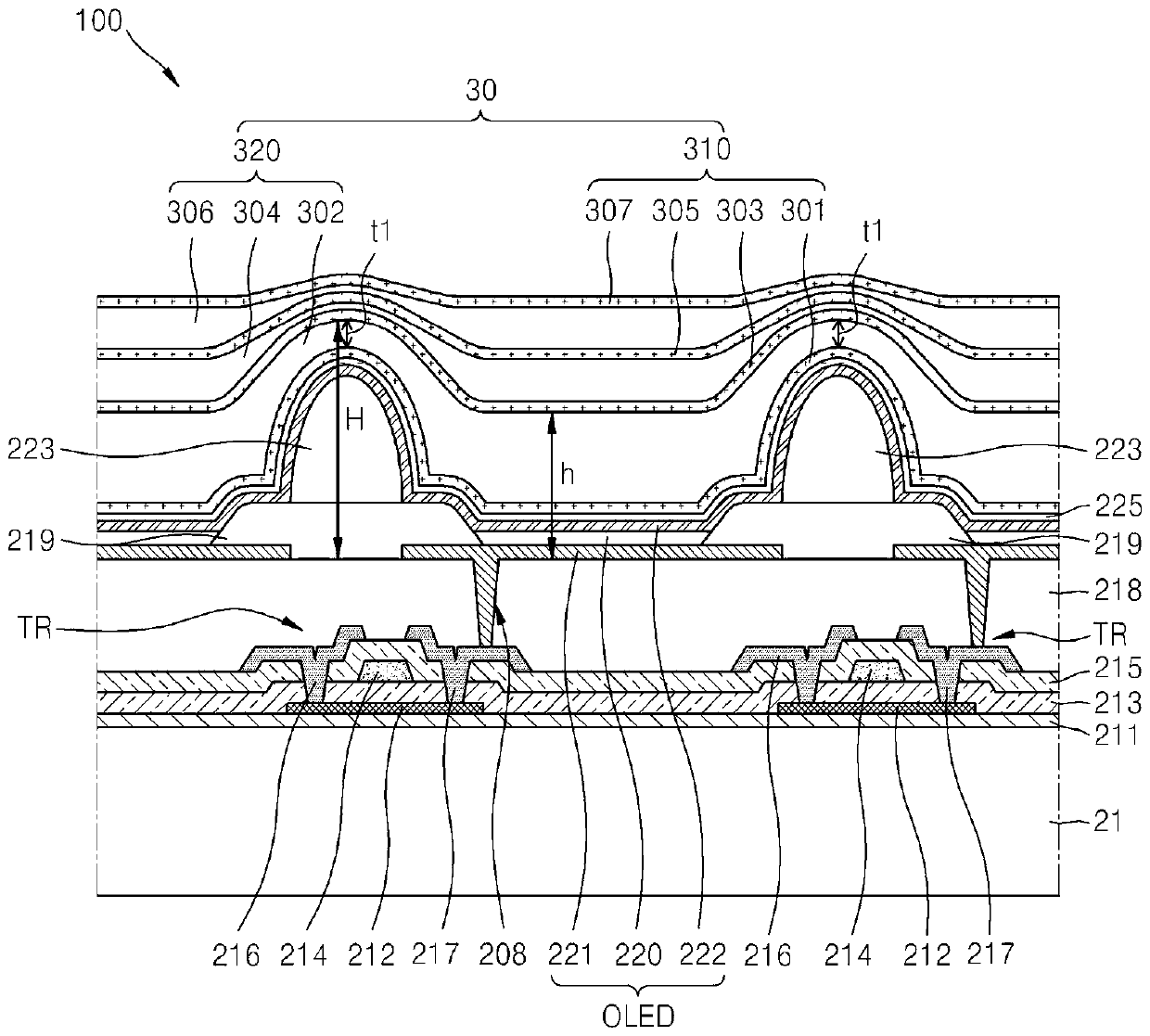
有机发光显示装置及其制造方法
授权日:
2019-06-14
公开(公告)号:
CN104282713B
申请日:
2014-04-25
公开(公告)日:
2019-06-14
当前申请(专利权)人:
三星显示有限公司
发明人:
姜泰旭
简单同族:
CN104282713A | CN104282713B | CN110137374A | KR1020150007866A | KR102080008B1 | TW201503350A | US10084154 | US10622586 | US20150014636A1 | US20170179431A1 | US20180366682A1 | US20200220102A1 | US9614180
简单同族成员数量:
13
简单同族被引用专利总数:
65
诉讼案件数:
0
法律状态/事件:
授权