首页
专利数据库
产业人才
行业动态
产业政策法规
维权援助
个人中心
登录/注册
详情
文本
图像
标题:
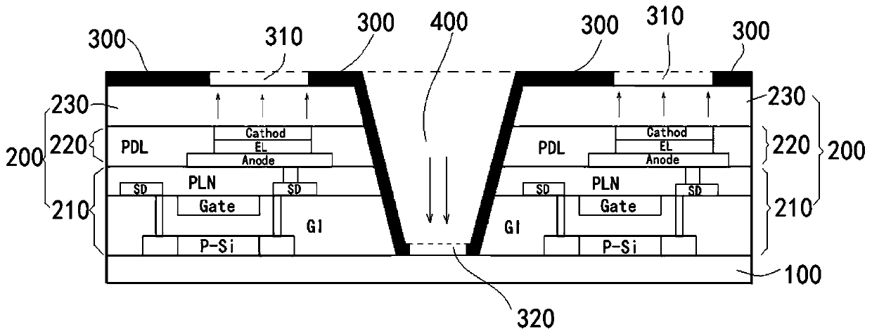
OLED显示面板及其制作方法、显示装置
授权日:
1900-01-01
公开(公告)号:
CN111384141A
申请日:
2020-03-24
公开(公告)日:
2020-07-07
当前申请(专利权)人:
京东方科技集团股份有限公司 | 福州京东方光电科技有限公司
发明人:
李增荣 | 邹振游 | 曾勇 | 郭航乐 | 陈周煜
简单同族:
CN111384141A
简单同族成员数量:
1
简单同族被引用专利总数:
0
诉讼案件数:
0
法律状态/事件:
公开