首页
专利数据库
产业人才
行业动态
产业政策法规
维权援助
个人中心
登录/注册
详情
文本
图像
标题:
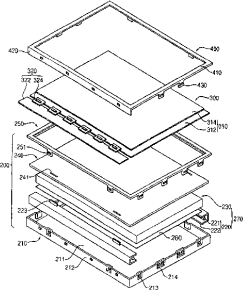
背光组件及具有该背光组件的液晶显示设备
授权日:
2010-05-26
公开(公告)号:
CN1885132B
申请日:
2006-06-22
公开(公告)日:
2010-05-26
当前申请(专利权)人:
三星显示有限公司
发明人:
张雄在
简单同族:
CN1885132A | CN1885132B | KR101189088B1 | KR1020060134285A | US20060290836A1 | US7714952
简单同族成员数量:
6
简单同族被引用专利总数:
96
诉讼案件数:
0
法律状态/事件:
未缴年费 | 权利转移