首页
专利数据库
产业人才
行业动态
产业政策法规
维权援助
个人中心
登录/注册
详情
文本
图像
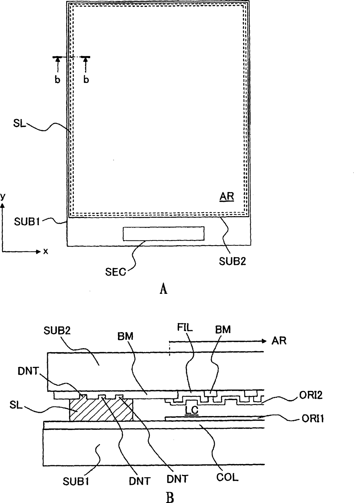
标题:
液晶显示装置
授权日:
2013-07-17
公开(公告)号:
CN101713882B
申请日:
2009-09-27
公开(公告)日:
2013-07-17
当前申请(专利权)人:
株式会社日立显示器 | 松下液晶显示器株式会社
发明人:
关谷有伸 | 山田泰之
简单同族:
CN101713882A | CN101713882B | US20100079718A1 | US8363199
简单同族成员数量:
4
简单同族被引用专利总数:
73
诉讼案件数:
0
法律状态/事件:
授权 | 权利转移