首页
专利数据库
产业人才
行业动态
产业政策法规
维权援助
个人中心
登录/注册
详情
文本
图像
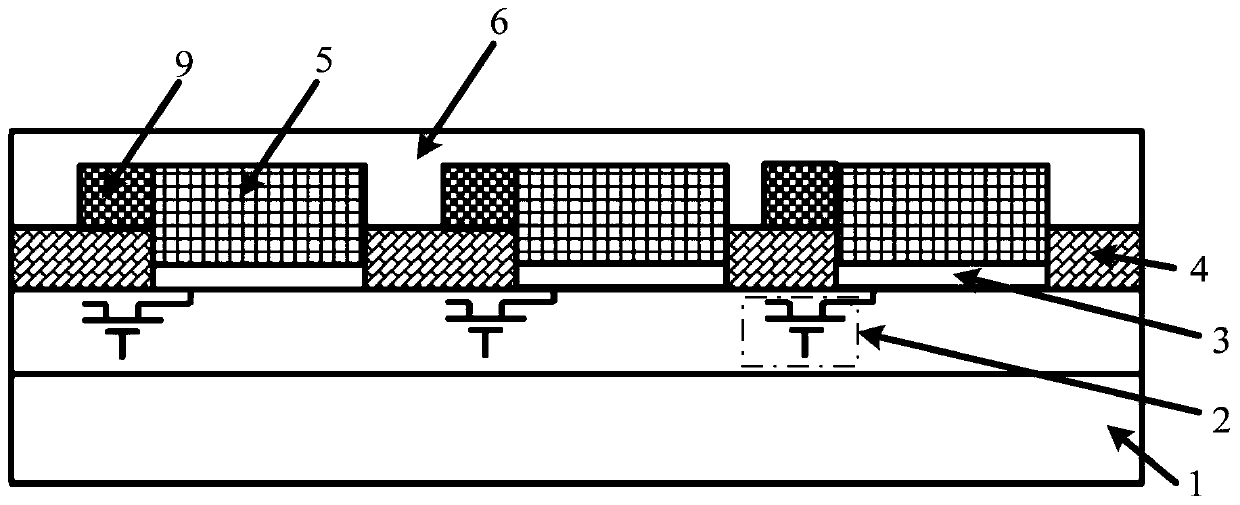
标题:
OLED阵列基板、显示屏及显示终端
授权日:
1900-01-01
公开(公告)号:
CN110767701A
申请日:
2018-12-29
公开(公告)日:
2020-02-07
当前申请(专利权)人:
昆山国显光电有限公司
发明人:
童晓阳 | 宋艳芹 | 张露
简单同族:
CN110767701A
简单同族成员数量:
1
简单同族被引用专利总数:
0
诉讼案件数:
0
法律状态/事件:
实质审查