首页
专利数据库
产业人才
行业动态
产业政策法规
维权援助
个人中心
登录/注册
详情
文本
图像
标题:
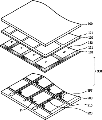
视角可控滤色器基板、具有该基板的液晶显示器及其制造方法
授权日:
2009-07-08
公开(公告)号:
CN100510890C
申请日:
2006-11-24
公开(公告)日:
2009-07-08
当前申请(专利权)人:
乐金显示有限公司
发明人:
崔相好
简单同族:
CN100510890C | CN101097343A | KR101268954B1 | KR1020080001522A | US20080002110A1 | US7609339
简单同族成员数量:
6
简单同族被引用专利总数:
87
诉讼案件数:
0
法律状态/事件:
授权