首页
专利数据库
产业人才
行业动态
产业政策法规
维权援助
个人中心
登录/注册
详情
文本
图像
标题:
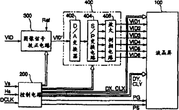
液晶显示装置、图像信号校正电路及电子设备
授权日:
1900-01-01
公开(公告)号:
CN1347073A
申请日:
2001-09-30
公开(公告)日:
2002-05-01
当前申请(专利权)人:
精工爱普生株式会社
发明人:
青木透
简单同族:
CN1191564C | CN1347073A | JP2002116735A | JP2002116735A5 | JP3685029B2 | KR100462956B1 | KR1020020027201A | TW564385B | US20020044123A1 | US6930662
简单同族成员数量:
10
简单同族被引用专利总数:
48
诉讼案件数:
0
法律状态/事件:
授权