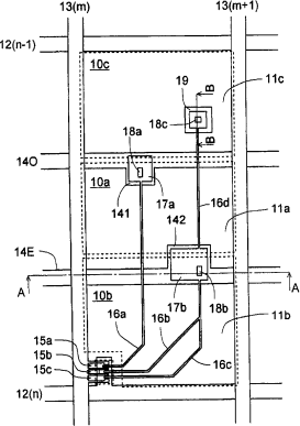
标题:
液晶显示器
授权日:
1900-01-01
公开(公告)号:
CN101587274A
申请日:
2005-10-04
公开(公告)日:
2009-11-25
当前申请(专利权)人:
夏普株式会社
发明人:
武内正典 | 大坪友和 | 津幡俊英
简单同族:
CN100523923C | CN101036080A | CN101303495A | CN101303495B | CN101587274A | CN101587274B | CN101634787A | CN101634787B | EP1798591A1 | EP1798591A4 | EP1798591B1 | EP1978398A2 | EP1978398A3 | EP1978398B1 | EP2230551A2 | EP2230551A3 | JP4970041B2 | JPWO2006038598A1 | KR100900115B1 | KR100902705B1 | KR1020070056165A | KR1020080071203A | US20080122772A1 | US20090195488A1 | US8614658 | WO2006038598A1
简单同族成员数量:
26
简单同族被引用专利总数:
100
诉讼案件数:
0
法律状态/事件:
授权