首页
专利数据库
产业人才
行业动态
产业政策法规
维权援助
个人中心
登录/注册
详情
文本
图像
标题:
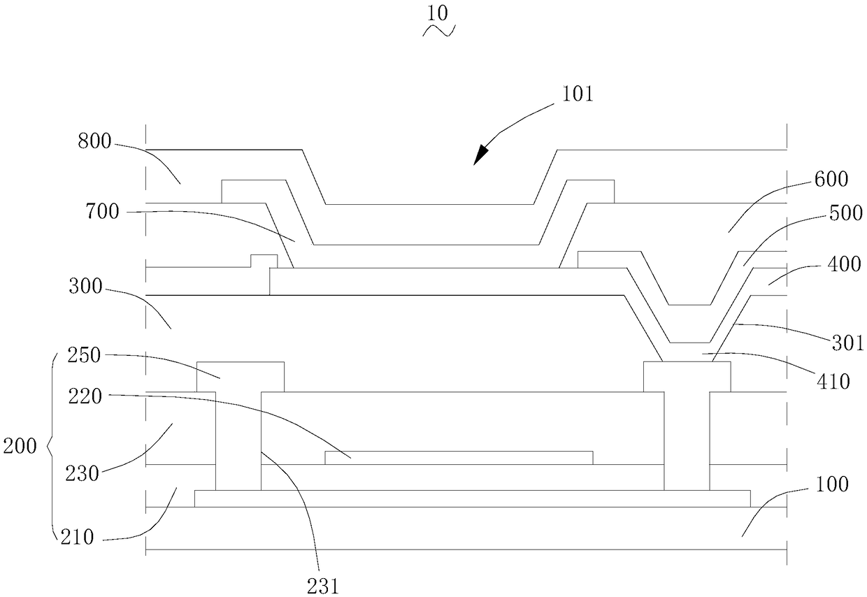
有机电致发光显示装置及其制备方法
授权日:
1900-01-01
公开(公告)号:
CN108155217A
申请日:
2017-12-25
公开(公告)日:
2018-06-12
当前申请(专利权)人:
信利(惠州)智能显示有限公司
发明人:
谢雄伟 | 任思雨 | 苏君海 | 李建华
简单同族:
CN108155217A
简单同族成员数量:
1
简单同族被引用专利总数:
0
诉讼案件数:
0
法律状态/事件:
实质审查