首页
专利数据库
产业人才
行业动态
产业政策法规
维权援助
个人中心
登录/注册
详情
文本
图像
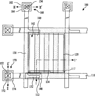
标题:
液晶显示面板及其制造方法
授权日:
2011-03-30
公开(公告)号:
CN101299122B
申请日:
2007-12-29
公开(公告)日:
2011-03-30
当前申请(专利权)人:
乐金显示有限公司
发明人:
林柄昊
简单同族:
CN101299122A | CN101299122B | KR101374102B1 | KR1020080097055A | TW200842470A | TWI363916B | US20080266479A1 | US7782435
简单同族成员数量:
8
简单同族被引用专利总数:
74
诉讼案件数:
0
法律状态/事件:
授权