首页
专利数据库
产业人才
行业动态
产业政策法规
维权援助
个人中心
登录/注册
详情
文本
图像
标题:
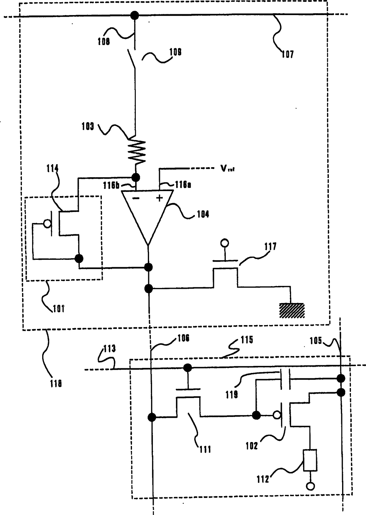
显示器件及其驱动方法
授权日:
2012-11-07
公开(公告)号:
CN101763821B
申请日:
2001-10-27
公开(公告)日:
2012-11-07
当前申请(专利权)人:
株式会社半导体能源研究所
发明人:
小山润 | 木村肇
简单同族:
CN100592361C | CN101763821A | CN101763821B | CN1351322A | TW550530B | US20030107534A1 | US20040164949A1 | US20070278932A1 | US20120127065A1 | US6697057 | US7262749 | US8063895 | US8395608
简单同族成员数量:
13
简单同族被引用专利总数:
276
诉讼案件数:
0
法律状态/事件:
未缴年费