首页
专利数据库
产业人才
行业动态
产业政策法规
维权援助
个人中心
登录/注册
详情
文本
图像
标题:
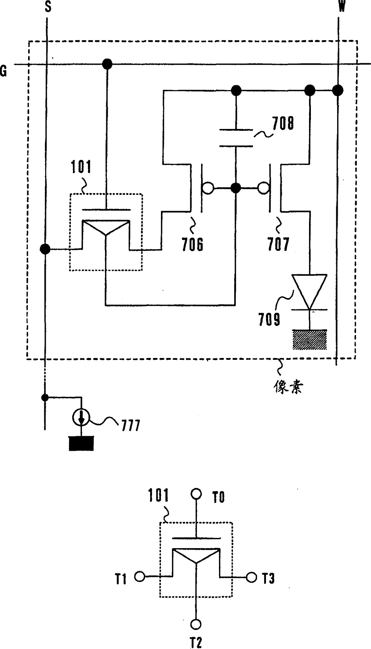
显示设备
授权日:
2013-02-06
公开(公告)号:
CN102063866B
申请日:
2003-03-26
公开(公告)日:
2013-02-06
当前申请(专利权)人:
株式会社半导体能源研究所
发明人:
犬饲和隆 | 濑尾哲史 | 山崎舜平
简单同族:
CN100416627C | CN101312606A | CN101312606B | CN102063866A | CN102063866B | CN1448902A | JP2003280557A | JP2003280557A5 | JP4046267B2 | KR100936632B1 | KR1020030077474A | TW200305123A | TWI264688B | US20030184505A1 | US7091938
简单同族成员数量:
15
简单同族被引用专利总数:
85
诉讼案件数:
0
法律状态/事件:
授权