首页
专利数据库
产业人才
行业动态
产业政策法规
维权援助
个人中心
登录/注册
详情
文本
图像
标题:
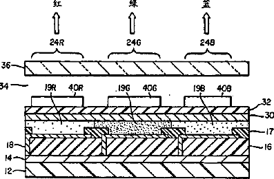
具有用于改善对比度的滤色片的有机发光二极管显示器
授权日:
1900-01-01
公开(公告)号:
CN1469330A
申请日:
2003-06-12
公开(公告)日:
2004-01-21
当前申请(专利权)人:
伊斯曼柯达公司
发明人:
R·S·科克
简单同族:
CN1469330A | EP1372200A2 | EP1372200A3 | EP1372200B1 | JP2004022541A | KR1020030096029A | TW200402668A | TWI270024B | US20030230972A1 | US6911772
简单同族成员数量:
10
简单同族被引用专利总数:
215
诉讼案件数:
0
法律状态/事件:
撤回