标题:
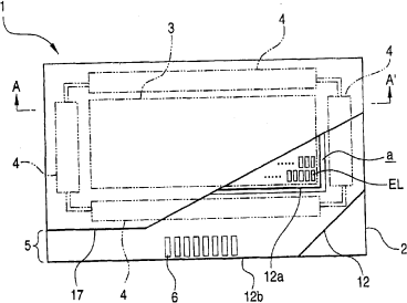
显示装置
授权日:
1900-01-01
公开(公告)号:
CN1735292A
申请日:
2005-08-08
公开(公告)日:
2006-02-15
当前申请(专利权)人:
株式会社日本有机雷特显示器
发明人:
藤村宽 | 猪野益充 | 浅野慎 | 汤本昭 | 岩瀬佑一
简单同族:
CN100463579C | CN1735292A | JP2006054111A | KR101244039B1 | KR1020060050422A | KR1020130016146A | TW200621088A | TWI289028B | US20060033429A1 | US20120062107A1 | US20130249385A1 | US8080936 | US8421349
简单同族成员数量:
13
简单同族被引用专利总数:
157
诉讼案件数:
0
法律状态/事件:
授权 | 权利转移