首页
专利数据库
产业人才
行业动态
产业政策法规
维权援助
个人中心
登录/注册
详情
文本
图像
标题:
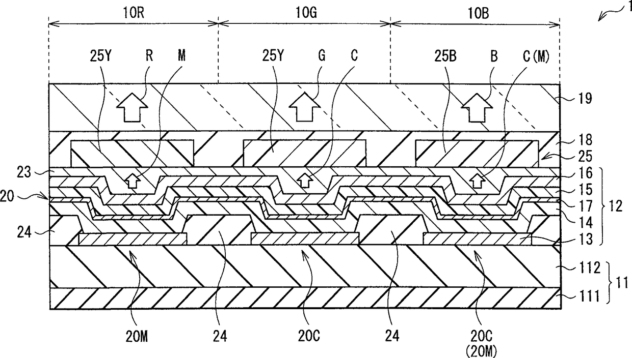
显示单元
授权日:
2014-10-22
公开(公告)号:
CN102097449B
申请日:
2010-10-15
公开(公告)日:
2014-10-22
当前申请(专利权)人:
株式会社日本有机雷特显示器
发明人:
今井利明 | 松波成行 | 鬼岛靖典
简单同族:
CN102097449A | CN102097449B | JP2011090894A | JP2011090894A5 | JP5609058B2 | US20110095276A1 | US20120175601A1 | US20130015476A1 | US8294143
简单同族成员数量:
9
简单同族被引用专利总数:
79
诉讼案件数:
0
法律状态/事件:
授权 | 权利转移