首页
专利数据库
产业人才
行业动态
产业政策法规
维权援助
个人中心
登录/注册
详情
文本
图像
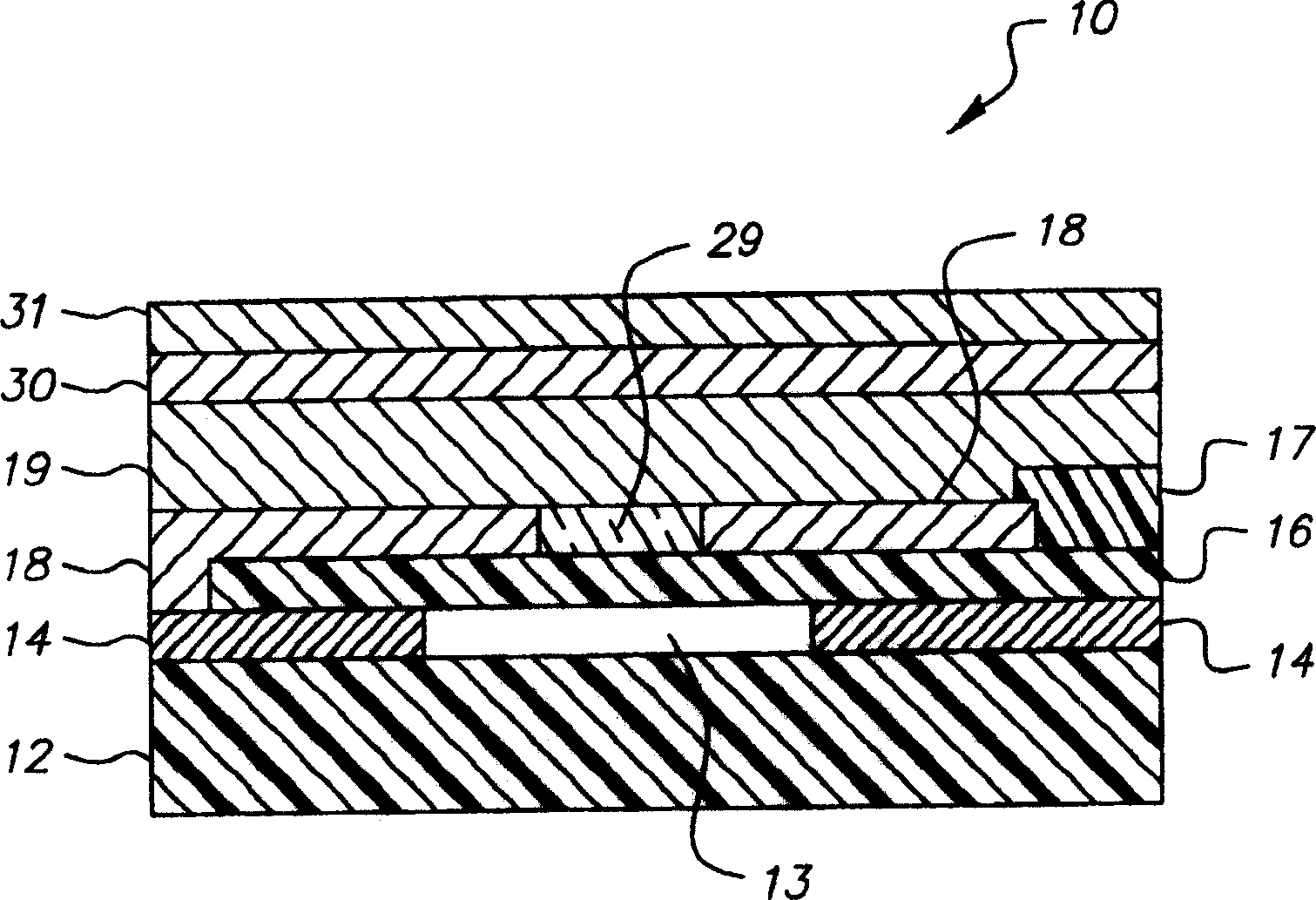
标题:
带有光敏器件的有机发光二极管显示器
授权日:
1900-01-01
公开(公告)号:
CN1534805A
申请日:
2004-03-29
公开(公告)日:
2004-10-06
当前申请(专利权)人:
全球OLED科技有限责任公司
发明人:
A·D·阿诺 | R·S·科克
简单同族:
CN100435375C | CN1534805A | EP1463117A2 | EP1463117A3 | EP1463117B1 | JP2004303731A | JP4550455B2 | KR100995825B1 | KR1020040085025A | TW200500594A | TWI350713B | US20040188687A1 | US6933532
简单同族成员数量:
13
简单同族被引用专利总数:
178
诉讼案件数:
0
法律状态/事件:
授权 | 权利转移