首页
专利数据库
产业人才
行业动态
产业政策法规
维权援助
个人中心
登录/注册
详情
文本
图像
标题:
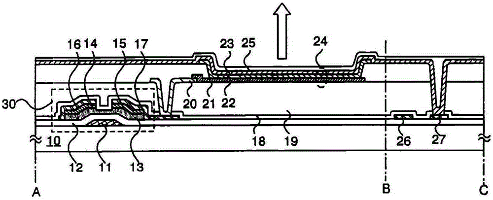
显示器件和电子设备
授权日:
2016-03-16
公开(公告)号:
CN102832228B
申请日:
2004-06-17
公开(公告)日:
2016-03-16
当前申请(专利权)人:
株式会社半导体能源研究所
发明人:
山崎舜平 | 小山润
简单同族:
CN102832228A | CN102832228B | CN1573846A | US20040256620A1 | US20070222380A1 | US20080164474A1 | US20110108842A1 | US20150097178A1 | US7224118 | US7411344 | US7880380 | US8917016 | US9887241
简单同族成员数量:
13
简单同族被引用专利总数:
203
诉讼案件数:
0
法律状态/事件:
授权