首页
专利数据库
产业人才
行业动态
产业政策法规
维权援助
个人中心
登录/注册
详情
文本
图像
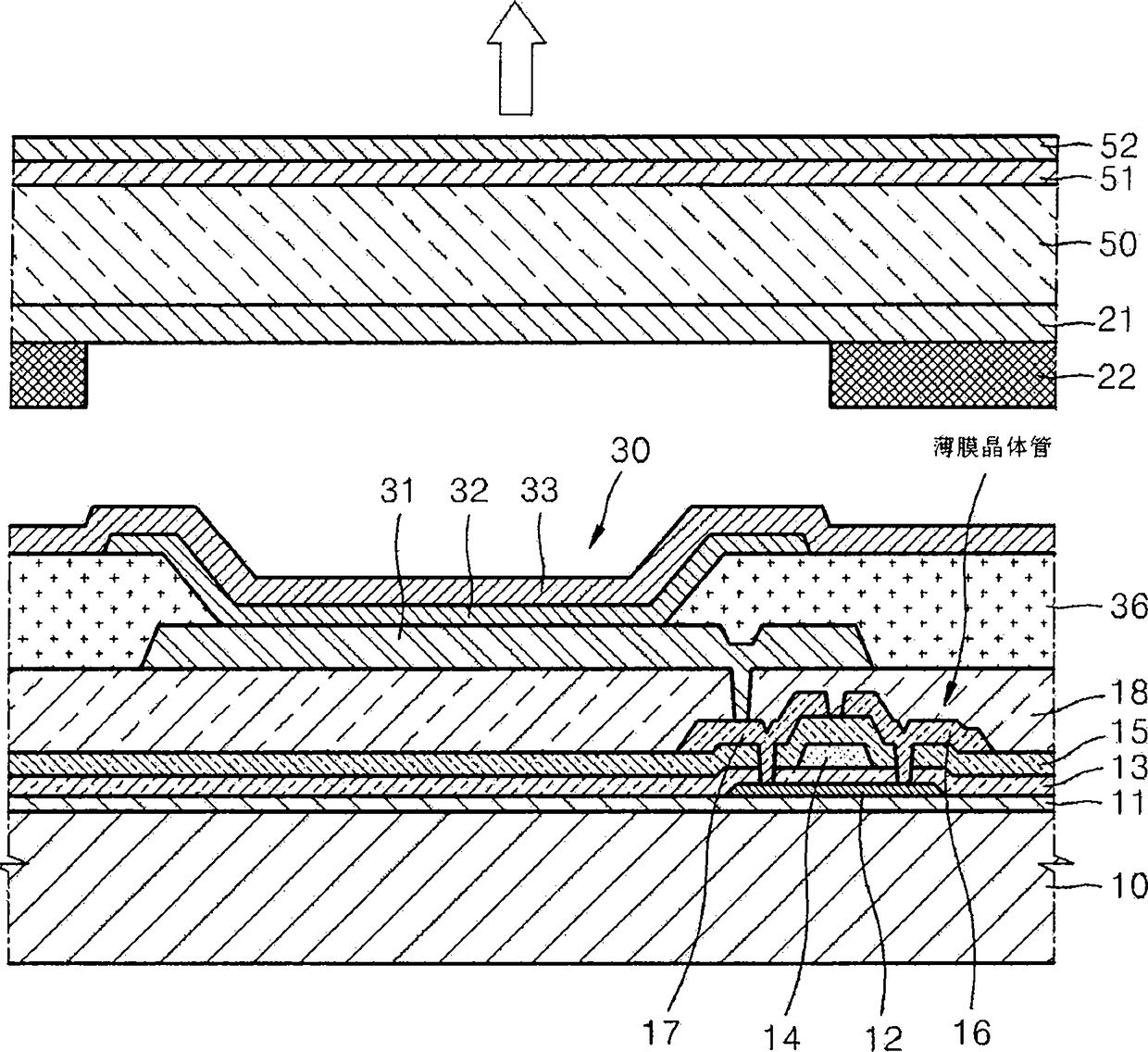
标题:
有机发光显示设备
授权日:
2012-02-08
公开(公告)号:
CN101197390B
申请日:
2007-12-06
公开(公告)日:
2012-02-08
当前申请(专利权)人:
三星显示有限公司
发明人:
李炳德 | 李钟赫 | 赵尹衡 | 吴敏镐 | 李昭玲 | 李善英 | 金元钟 | 金容铎 | 崔镇白
简单同族:
CN101197390A | CN101197390B | EP1930968A2 | EP1930968A3 | EP1930968B1 | JP2008147161A | JP4558763B2 | KR100829750B1 | US20080138657A1 | US8022616
简单同族成员数量:
10
简单同族被引用专利总数:
53
诉讼案件数:
0
法律状态/事件:
授权 | 权利转移