首页
专利数据库
产业人才
行业动态
产业政策法规
维权援助
个人中心
登录/注册
详情
文本
图像
标题:
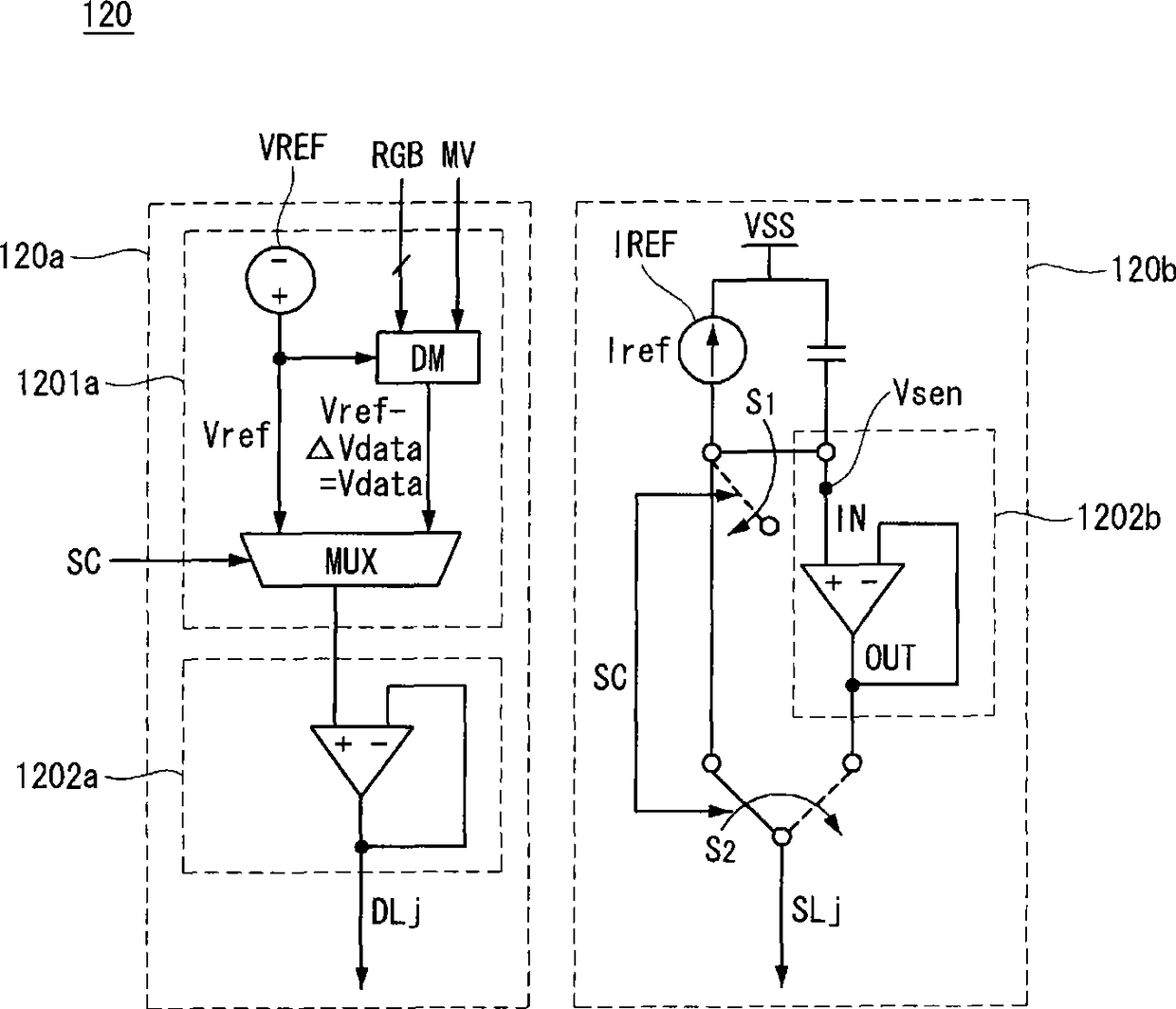
有机发光二极管显示器
授权日:
2012-11-07
公开(公告)号:
CN101515434B
申请日:
2008-10-30
公开(公告)日:
2012-11-07
当前申请(专利权)人:
乐金显示有限公司
发明人:
南宇镇
简单同族:
CN101515434A | CN101515434B | EP2093749A2 | EP2093749A3 | EP2093749B1 | ES2556650T3 | JP2009199057A | JP5483860B2 | KR100939211B1 | KR1020090090933A | PL2093749T3 | US20090213046A1 | US20120327065A1 | US8305303 | US8531361
简单同族成员数量:
15
简单同族被引用专利总数:
247
诉讼案件数:
0
法律状态/事件:
授权