首页
专利数据库
产业人才
行业动态
产业政策法规
维权援助
个人中心
登录/注册
详情
文本
图像
标题:
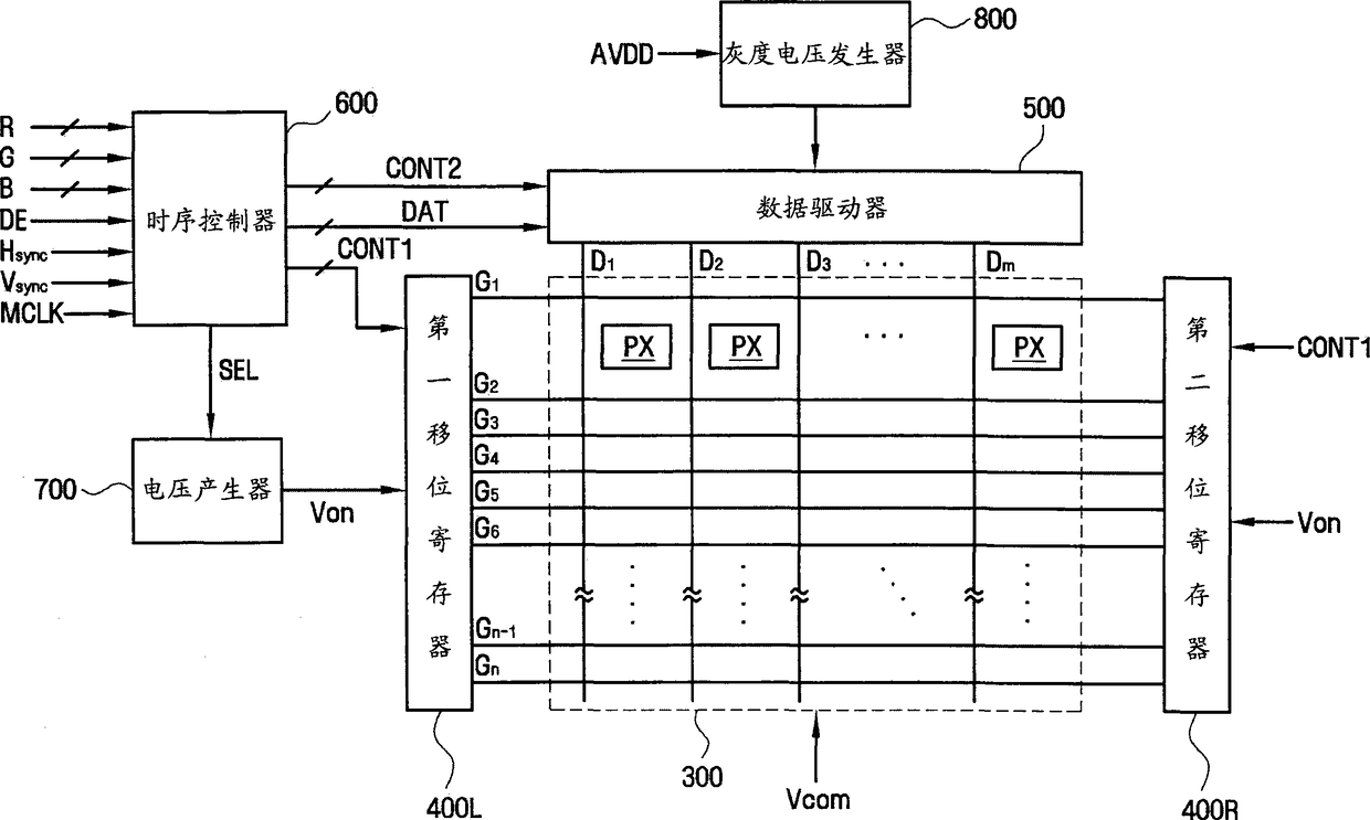
栅极驱动电路和具有该栅极驱动电路的液晶显示器
授权日:
2013-01-02
公开(公告)号:
CN101295481B
申请日:
2007-11-16
公开(公告)日:
2013-01-02
当前申请(专利权)人:
三星显示有限公司
发明人:
李奉俊 | 金景旭 | 金钟五 | 金圣万 | 李洪雨 | 金爀珍
简单同族:
CN101295481A | CN101295481B | CN102645773A | CN102645773B | KR101307414B1 | KR1020080096287A | US20080266477A1 | US8159446
简单同族成员数量:
8
简单同族被引用专利总数:
111
诉讼案件数:
0
法律状态/事件:
授权 | 权利转移