首页
专利数据库
产业人才
行业动态
产业政策法规
维权援助
个人中心
登录/注册
详情
文本
图像
标题:
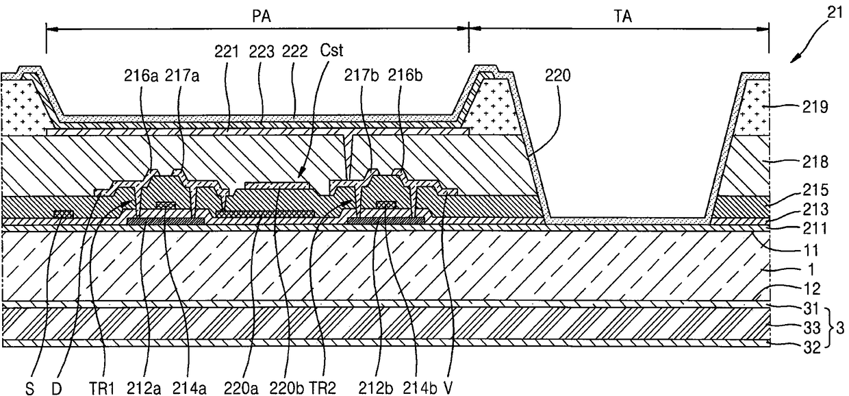
有机发光显示装置
授权日:
1900-01-01
公开(公告)号:
CN102117825A
申请日:
2010-10-19
公开(公告)日:
2011-07-06
当前申请(专利权)人:
三星显示有限公司
发明人:
李们在 | 宋原准 | 李善姬 | 李荣熙 | 朴希昌 | 金茂显
简单同族:
CN102117825A | CN102117825B | EP2341544A2 | JP2011142289A | JP5241777B2 | KR101156434B1 | KR1020110080386A | US20110163661A1 | US8638030
简单同族成员数量:
9
简单同族被引用专利总数:
56
诉讼案件数:
0
法律状态/事件:
授权 | 权利转移