首页
专利数据库
产业人才
行业动态
产业政策法规
维权援助
个人中心
登录/注册
详情
文本
图像
标题:
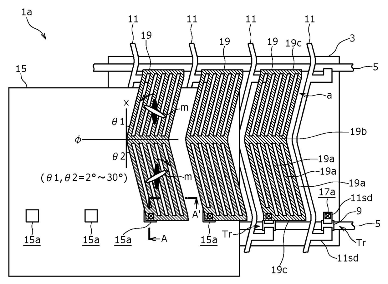
표시 장치
授权日:
1900-01-01
公开(公告)号:
KR1020090018577A
申请日:
2008-08-13
公开(公告)日:
2009-02-20
当前申请(专利权)人:
재팬 디스프레이 웨스트 인코포레이트
发明人:
TANAKA, HIRONAO
简单同族:
CN101369074A | CN101369074B | JP2009047817A | JP4475303B2 | KR101487019B1 | KR1020090018577A | TW200916922A | TWI410720B | US20090046234A1 | US20110001914A1 | US8049855 | US8243243
简单同族成员数量:
12
简单同族被引用专利总数:
56
诉讼案件数:
0
法律状态/事件:
未缴年费