首页
专利数据库
产业人才
行业动态
产业政策法规
维权援助
个人中心
登录/注册
详情
文本
图像
标题:
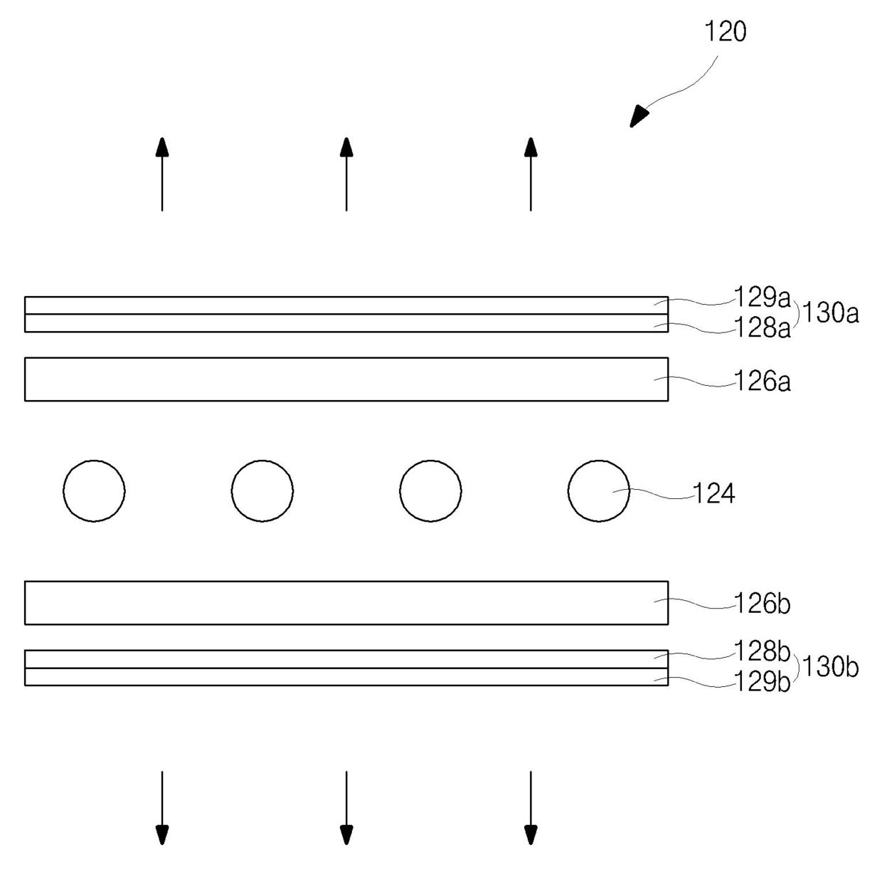
양방향 백라이트 유닛 및 이를 이용하는 양방향 액정표시장치
授权日:
1900-01-01
公开(公告)号:
KR1020100078297A
申请日:
2008-12-30
公开(公告)日:
2010-07-08
当前申请(专利权)人:
엘지디스플레이 주식회사
发明人:
민병삼 | 김승현
简单同族:
KR1020100078297A
简单同族成员数量:
1
简单同族被引用专利总数:
0
诉讼案件数:
0
法律状态/事件:
撤回