首页
专利数据库
产业人才
行业动态
产业政策法规
维权援助
个人中心
登录/注册
详情
文本
图像
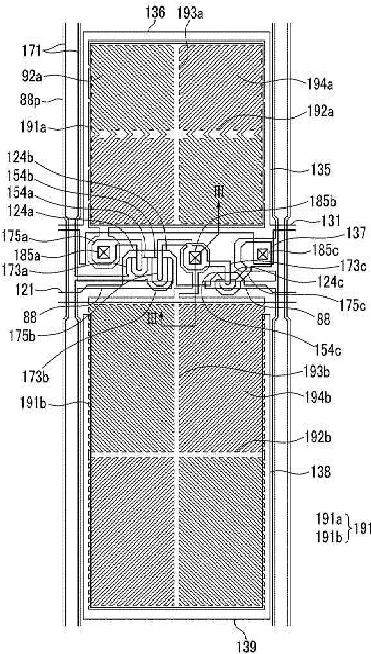
标题:
액정 표시 장치
授权日:
1900-01-01
公开(公告)号:
KR1020140021105A
申请日:
2012-08-07
公开(公告)日:
2014-02-20
当前申请(专利权)人:
삼성디스플레이 주식회사
发明人:
창학선 | 류장위 | 신기철 | 장재수
简单同族:
KR101931699B1 | KR1020140021105A | US10520777 | US20140043571A1 | US20160054628A1 | US20160246133A1 | US20170248826A1 | US20200089063A1 | US9213209 | US9329442 | US9651834
简单同族成员数量:
11
简单同族被引用专利总数:
51
诉讼案件数:
0
法律状态/事件:
授权