首页
专利数据库
产业人才
行业动态
产业政策法规
维权援助
个人中心
登录/注册
详情
文本
图像
标题:
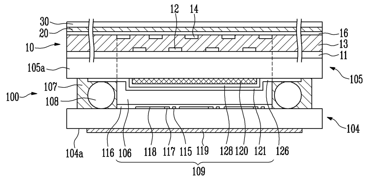
터치 스크린 패널
授权日:
2011-03-07
公开(公告)号:
KR101022065B1
申请日:
2009-01-16
公开(公告)日:
2011-03-17
当前申请(专利权)人:
삼성모바일디스플레이주식회사
发明人:
박정목 | 정태혁 | 강성구 | 이춘협 | 정환희 | 김성철 | 김상국
简单同族:
CN101782694A | CN101782694B | EP2209039A1 | JP2010164938A | KR101022065B1 | KR1020100084258A | US20100182252A1 | US8947368
简单同族成员数量:
8
简单同族被引用专利总数:
69
诉讼案件数:
0
法律状态/事件:
未缴年费 | 权利转移