首页
专利数据库
产业人才
行业动态
产业政策法规
维权援助
个人中心
登录/注册
详情
文本
图像
标题:
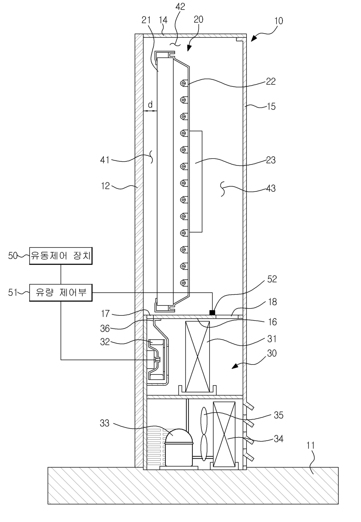
발명의 명칭 액정표시장치
授权日:
2015-10-23
公开(公告)号:
KR101564278B1
申请日:
2008-06-13
公开(公告)日:
2015-10-30
当前申请(专利权)人:
삼성전자주식회사
发明人:
김진섭 | 조진현 | 김성기 | 강준
简单同族:
CN101604084A | CN101604084B | EP2133735A2 | EP2133735A3 | EP2133735B1 | KR101564278B1 | KR1020090129654A | US20090310059A1 | US20120257158A1 | US20130176517A1 | US8223311 | US8411227 | US8842253
简单同族成员数量:
13
简单同族被引用专利总数:
74
诉讼案件数:
0
法律状态/事件:
授权