首页
专利数据库
产业人才
行业动态
产业政策法规
维权援助
个人中心
登录/注册
详情
文本
图像
标题:
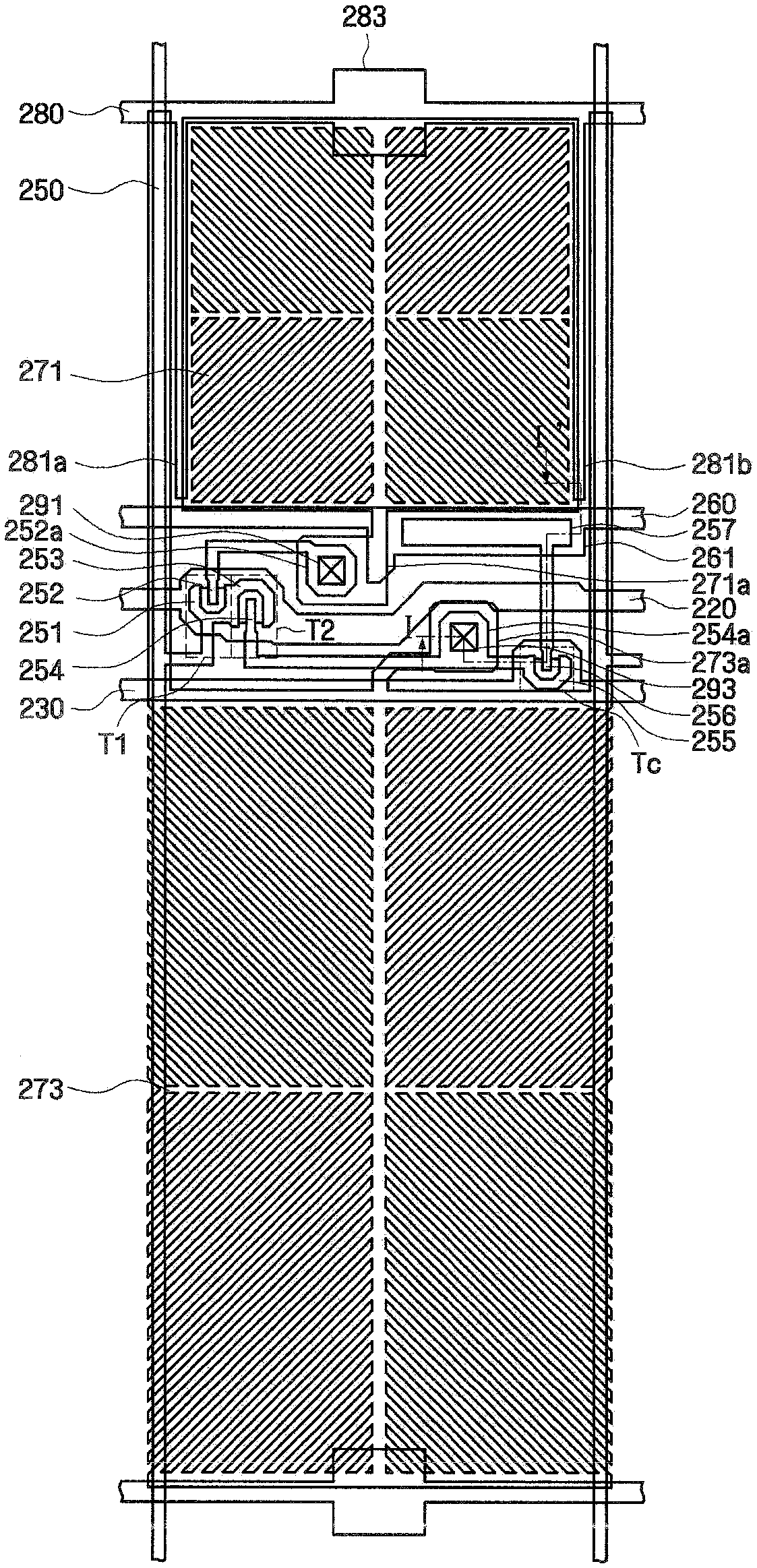
显示设备
授权日:
2016-09-07
公开(公告)号:
CN102375275B
申请日:
2011-06-21
公开(公告)日:
2016-09-07
当前申请(专利权)人:
三星显示有限公司
发明人:
金容照 | 金润暲 | 严允成 | 罗钟熙 | 崔永玟
简单同族:
CN102375275A | CN102375275B | CN106200174A | CN106200174B | JP2012037890A | JP2016212441A | JP6004616B2 | JP6347811B2 | KR101793176B1 | KR1020120013552A | US20120033001A1 | US8791969
简单同族成员数量:
12
简单同族被引用专利总数:
55
诉讼案件数:
0
法律状态/事件:
授权 | 权利转移