首页
专利数据库
产业人才
行业动态
产业政策法规
维权援助
个人中心
登录/注册
详情
文本
图像
标题:
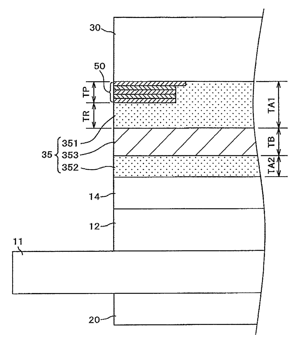
액정 표시 장치
授权日:
1900-01-01
公开(公告)号:
KR1020090100297A
申请日:
2009-03-18
公开(公告)日:
2009-09-23
当前申请(专利权)人:
가부시키가이샤 재팬 디스프레이
发明人:
구보따히데나오 | 미와히로아끼
简单同族:
CN101539679A | CN101539679B | JP2009229538A | JP5297668B2 | KR101060889B1 | KR1020090100297A | TW201001001A | TWI410708B | US20090237602A1 | US8018558
简单同族成员数量:
10
简单同族被引用专利总数:
79
诉讼案件数:
0
法律状态/事件:
授权 | 权利转移