首页
专利数据库
产业人才
行业动态
产业政策法规
维权援助
个人中心
登录/注册
详情
文本
图像
标题:
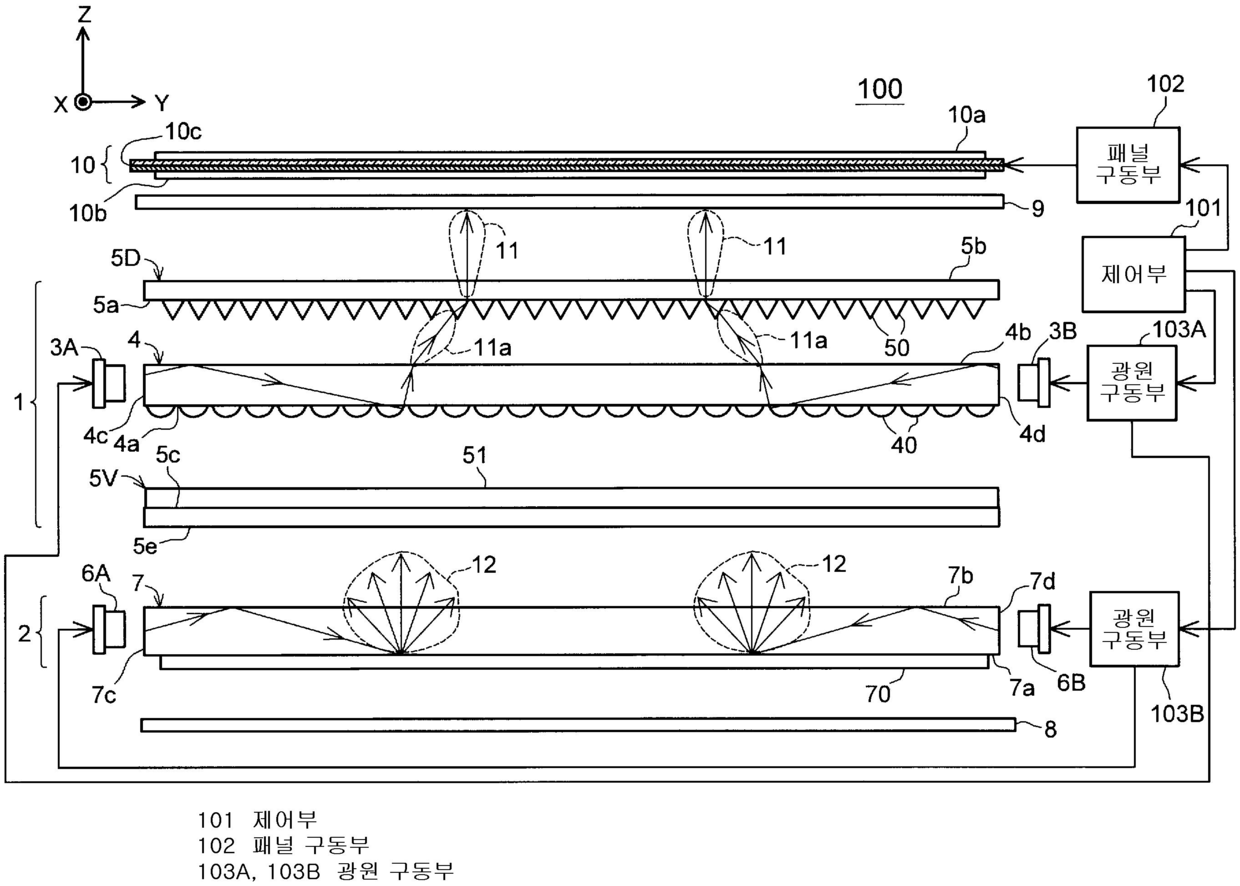
액정 표시 장치
授权日:
2013-10-08
公开(公告)号:
KR101318497B1
申请日:
2010-11-29
公开(公告)日:
2013-10-16
当前申请(专利权)人:
미쓰비시덴키 가부시키가이샤
发明人:
니시타니레나 | 사사가와도모히로 | 니이쿠라에이지 | 구와타무네하루 | 고지마구니코
简单同族:
CN102640039A | DE112010004660T5 | JPWO2011067911A1 | KR101318497B1 | KR1020120078745A | TW201202799A | US20120235891A1 | WO2011067911A1
简单同族成员数量:
8
简单同族被引用专利总数:
102
诉讼案件数:
0
法律状态/事件:
未缴年费