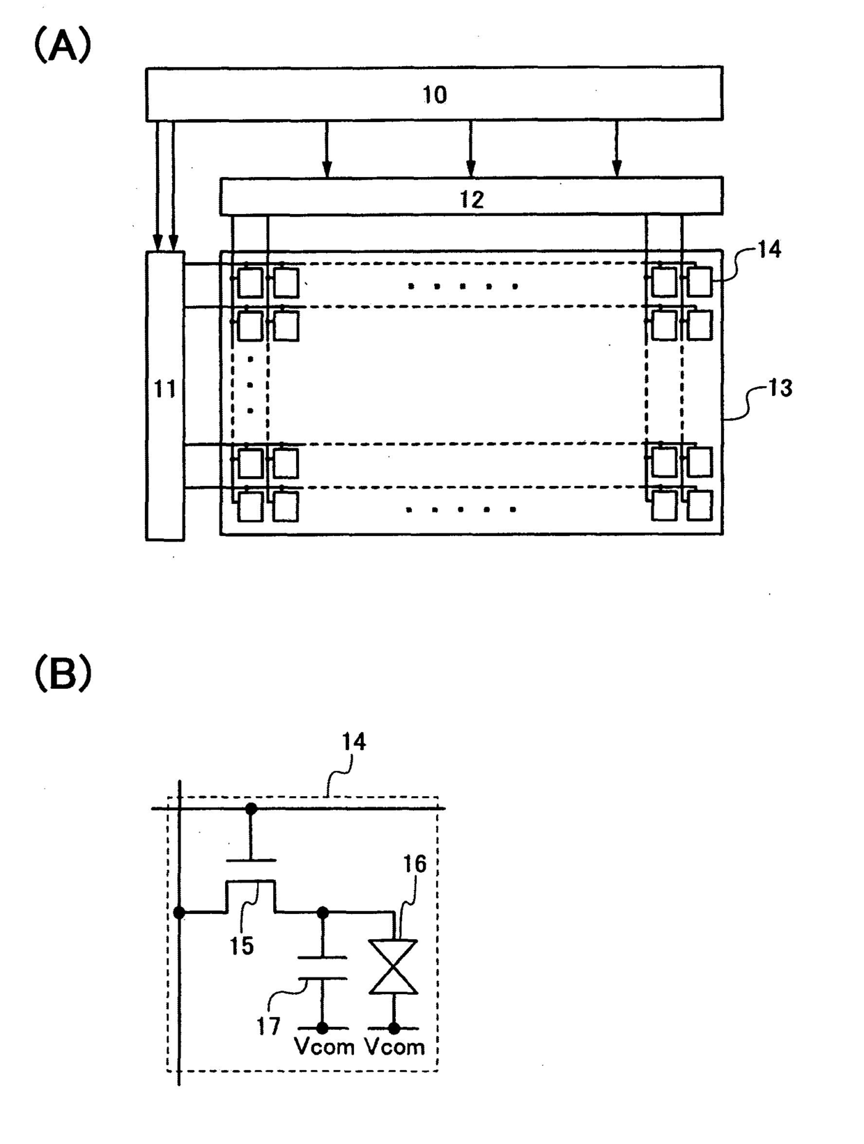
标题:
발명의 명칭 액정 표시 장치 및 전자 기기
授权日:
2013-06-28
公开(公告)号:
KR101282383B1
申请日:
2010-11-19
公开(公告)日:
2013-07-04
当前申请(专利权)人:
가부시키가이샤 한도오따이 에네루기 켄큐쇼
发明人:
YAMAZAKI, SHUNPEI
简单同族:
CN102667910A | CN102667910B | CN103219390A | CN103219390B | CN105140245A | CN105140245B | EP2513893A1 | EP2513893A4 | JP2011237760A | JP2013008027A | JP2013008027A5 | JP2013101350A | JP2014178695A | JP2015222443A | JP2017161913A | JP2017161913A5 | JP2019016808A | JP2020010061A | JP5025784B2 | JP5341245B2 | JP5690777B2 | JP5799128B2 | JP6126656B2 | JP6598956B2 | KR101282383B1 | KR101765849B1 | KR101867003B1 | KR101998737B1 | KR1020120105505A | KR1020130030827A | KR1020170091787A | KR1020180063378A | KR1020190083673A | TW201202819A | TW201324012A | TW201443534A | TW201619680A | TW201835662A | TWI424240B | TWI457677B | TWI533068B | TWI663457B | TWI676850B | US10256254 | US20110149185A1 | US20140293167A1 | US20160071890A1 | US20170039977A1 | US20190288013A1 | US8823893 | US9244323 | US9620525 | WO2011074391A1
简单同族成员数量:
53
简单同族被引用专利总数:
99
诉讼案件数:
0
法律状态/事件:
授权